Skip to content

GalenMoo/VoiceHomeAssistant

Folders and files

NameName
Last commit message
Last commit date

Latest commit

 

History

3 Commits
 
 
 
 
 
 
 
 

Repository files navigation

Voice Home Assistant

Create your own wireless home assistant using the Google Speech API and the use of two microcontrollers.

Materials

You will need a MAX9814 Microphone, two MSP432, two HC-05 Bluetooth modules, a solid state relay, and a computer with Python2.7.

Block Diagram

block_final

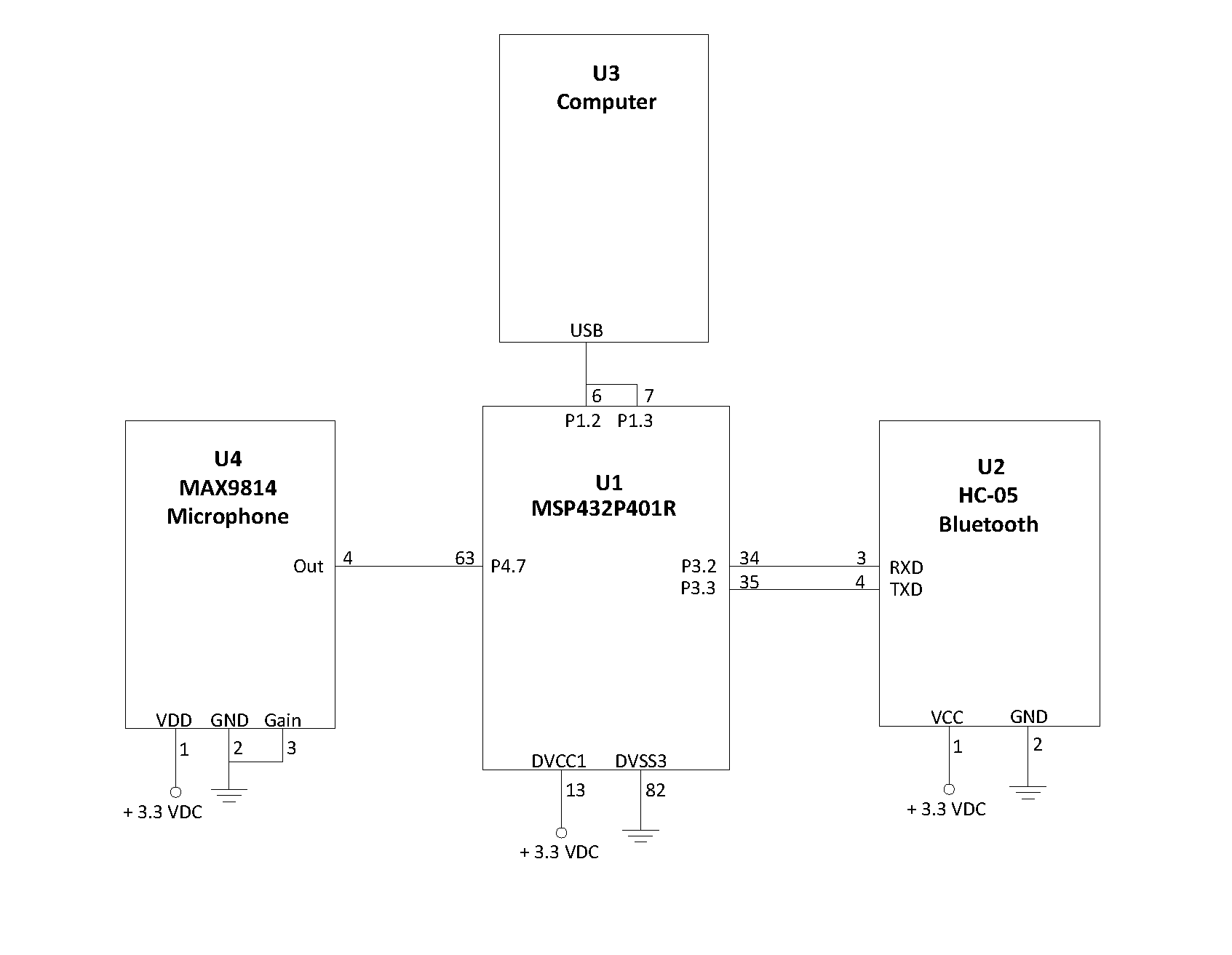
Schematic Design

Microphone

final_schem_u1

Solid state relay

final_schem_u2

Software Flow

flowchart_final

About

Program files for Voice Home Assistant project

Resources

Stars

Watchers

Forks

Releases

No releases published

Packages

 
 
 

Contributors